Меню

Гільза кабельна з'єднувальна мідно-алюмінієва BL/CRAL-120/150

  • Наявність: Очікування 3-5 дні
  • Артикул: BL/CRAL-120/150
Відгуки: (0)
Виробник: PROMFACTOR
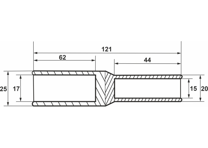
Кабельні гільзи для з'єднання алюмінієвих проводів з мідними (з переходом на один номінал перетину дроту нижче) використовуються для з'єднання алюмінієвих проводів з мідними методом "встик", хороший електричний контакт між проводами забезпечується за рахунок корпуса гільзи. Кабельні гільзи складаються з мідної і алюмінієвої частин, які з'єднані між собою методом контактного зварювання, що забезпечує гарний контакт між двома металами. Увага: мідна частина гільзи розрахована для мідного дроту перетином на один номінал менше ніж алюмінієвий дріт, для якого розрахована алюмінієва частина.
Характеристики
Загальні характеристики
EAN, Блочне пакування 4823117860352
EAN, Одиниця продукту 4823117858106
EAN, Ящик норма 4823117860451
Вага продукту, kg, Одиниця продукту 0.006
Вага продукту, kg, Ящик норма 0.000
Висота, cm, Ящик норма 0.00
Глибина, cm, Одиниця продукту 0,000080
Глибина, cm, Ящик норма 0.00
Кількість, Блочне пакування 10
Кількість, Ящик норма 240
Код УКТЗЕД, Одиниця продукту 8536901000
Матеріал - Серія Мідь/алюміній - BL/CRAL
Обʼєм, m3, Ящик норма 0.000000
Перетин 120-150мм²
Ширина, cm, Ящик норма 0.00
Ціна: 297.60 грн
Відгуків0
0/ 5
середній рейтинг товара
0
0
0
0
0
Немає відгуків про цей товар.
https://schema.org/MerchantReturnFiniteReturnWindow